淄博文昌湖省级旅游度假区管理委员会
文昌湖区公安局
首页
政务公开
政务公开
政府信息公开
管理和服务公开
行政执法信息
事前公示
标题:
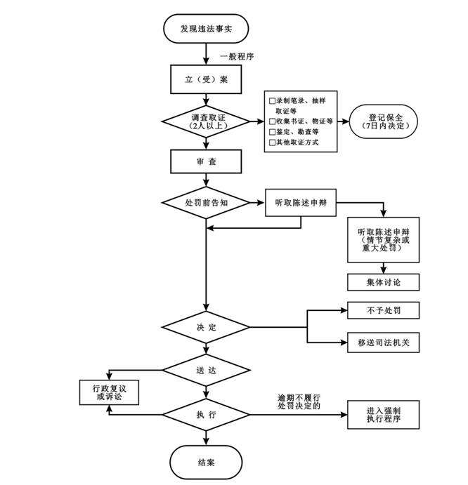
文昌湖行政执法流程图
索引号:
/2023-5165738
文号:
发文日期:
2023-05-25
发布机构:
文昌湖区公安局
文昌湖行政执法流程图
发布日期:2023-05-25
字号:
大
中
小
|
打印
分享:
扫码使用手机浏览本页内容